搬瓦工提供荷兰阿姆斯特丹数据中心,适合有欧洲IP需求的用户,例如欧洲外贸、亚马逊运营等场景。除香港机房外,其他所有方案均可切换到荷兰机房,详见机房切换大全。
以下测试在晚间进行,更能反映实际使用体验。

除香港机房外,所有方案均可切换到荷兰机房。切换机房后IP会变更,可用于获取不同IP段。

晚间国内PING延迟较高,这是欧洲机房的正常表现。不建议用于面向中国用户的网站。各机房对比请查看数据中心测试IP。

SSD固态硬盘,IO数据表现优秀。

国内节点下载速度仅供参考,该机房主要面向欧洲用户。

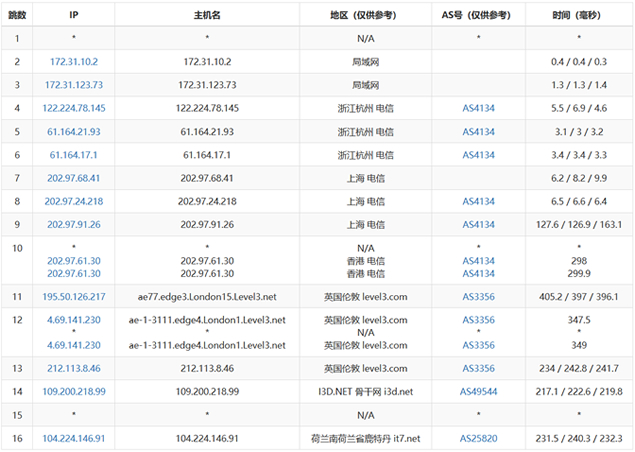
电信路由测试显示为普通线路,路由较为稳定。

欧洲用户访问速度优秀,适合面向欧洲市场的业务。
荷兰机房不适合面向国内用户的中文站点,但对欧洲业务需求完全胜任。全部方案请查看搬瓦工VPS方案汇总。