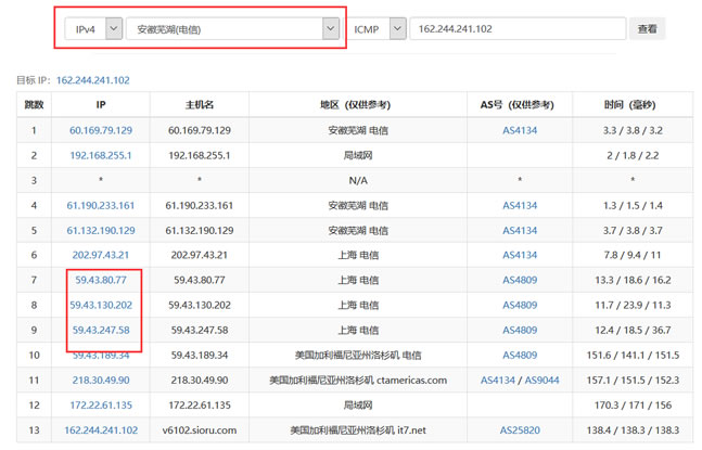
购买服务器后需要自行测试线路质量。路由追踪工具可以查看网络路径走向,验证是否为CN2 GIA等优化线路(59.43.*开头即为CN2线路)。
Tip: 以下两款工具可帮助验证服务器线路质量。
下载地址:https://www.ipip.net/product/client.html
下载到本地电脑,输入服务器IP即可查看从本地到服务器的线路走向,支持图形化显示。

在线地址:https://tools.ipip.net/traceroute.php
提供上百个节点,选择目标地区节点测试到服务器IP的线路走向。

工具地址:http://www.webkaka.com/Tracert.aspx

建议多工具多节点交叉测试,获取更准确的结果。购买前可先测试搬瓦工各机房节点。
Tip: 更多搬瓦工教程请参考新手教程目录。